Ersatzteilkatalog

  1. Ersatzteilkatalog
  2. Vespa
  3. Vespa GTS 125
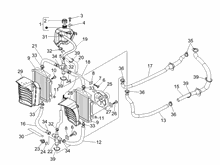
  4. Vespa GTS 125 4T NOABS E3 2007-2012 (EMEA)

Maintenance